STAFFORD RGNL (RMN)(KRMN) 3 SW UTC–5(–4DT) N38°23.95′ W77°27.40′
219 B NOTAM FILE RMN

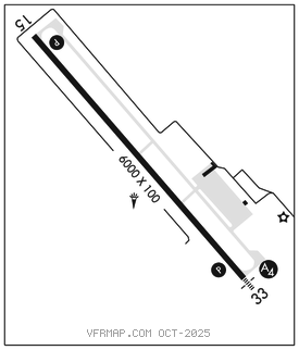
RWY 15–33: H6000X100 (ASPH–GRVD) S–30, D–70, 2S–89 HIRL 0.8% up NW
RWY 15: REIL. PAPI(P4L)–GA 3.0° TCH 45′. Trees.
RWY 33: MALS. PAPI(P4L)–GA 3.0° TCH 47′. Trees.
SERVICE: S2 FUEL 100LL, JET A OX 4 LGT ACTVT MALS Rwy 33; REIL Rwy 15; PAPI Rwy 15 and Rwy 33; HIRL Rwy 15–33–CTAF.
NOISE: Noise: In eff 24 hrs. VFR acft departing Rwy 33 fly rwy heading until baseball fields 1 NM then turn left.
AIRPORT REMARKS: Attended 1300–2300Z‡. Unatndd Thanksgiving, Christmas, & New Years days. Deer and flocks of birds on and invof arpt. Govt contr fuel. Fuel avbl until 2300Z‡; after hrs call 540–288–3838 within 12 hrs notice. Anti–icing fuel additive avbl.
AIRPORT MANAGER: 540-658-1212
WEATHER DATA SOURCES: AWOS–3 126.325 (540) 657–8283.
COMMUNICATIONS: CTAF/UNICOM 122.725
®QUANTICO APP/DEP CON 127.05 (Mon and Fri 1300–2200Z‡ Tue, Wed and Thu 1300–0200Z‡, exc Sat, Sun and holidays, other times ctc
®POTOMAC APP/DEP CON 128.525
CLEARANCE DELIVERY PHONE: GCO avbl on freq 135.075 serviced by Quantico and Potomac app. If una, for CD ctc Potomac Apch at 866-709-4993.
RADIO AIDS TO NAVIGATION: NOTAM FILE DCA.
BROOKE (L) (L) VORTAC 114.5 BRV Chan 92 N38°20.18′ W77°21.17′ 317° 6.2 NM to fld. 145/9W.
VOR unusable:
001°–360°
TACAN AZIMUTH unusable:
011°–060° byd 20 NM
061°–120°
121°–161° byd 17 NM
162°–238°
239°–249° byd 5 NM
250°–010°
SHANNON NDB (MHW) 237 EZF N38°15.98′ W77°27.03′ 008° 8.0 NM to fld. 83/10W. NOTAM FILE EZF.NDB unmonitored when arpt unatndd.
NDB unusable:
Byd 15 NM
ILS/DME 108.75 I–RMN Chan 24(Y) Rwy 33. Class IE.
COMM/NAV/WEATHER REMARKS: GCO avbl on freq 135.075 serviced by Quantico and Potomac App. If una, for CD ctc Potomac App at 866–709–4993.